为贯彻落实习近平主席在党的十九大报告中关于“推动互联网、大数据、人工智能和实体经济深度融合”以及“善于运用互联网技术和信息化手段开展工作”等讲话精神,引导高校在校生学习掌握计算机与互联网知识,提高计算机应用能力、解决问题能力以及创新创业能力,推动各高等院校计算机教育教学改革与创新。

全国高等学校计算机教育研究会主办的全国高校计算机能力挑战赛已成功举办三届,得到广大师生的认可与支持。为进一步扩大“以赛促学、以赛促教、以赛促专业建设”的成果,结合湖北、江西、安徽等省赛经验,我校作为承办院校参加了此次四届全国高校计算机能力挑战赛。
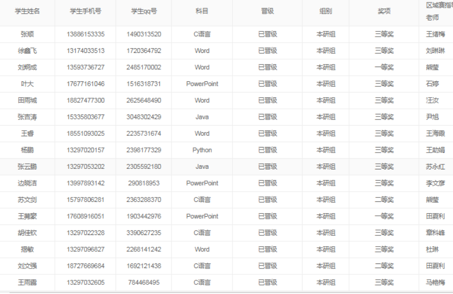
比赛参照省赛标准制定了大赛实施方案,在充分利用信息化手段的基础上分别进行了理论和实操两项测试,经过激烈地角逐,涌现出一批成绩优异的选手,区域赛共获一等奖2名,二等奖2名,三等奖12名,这些同学均进入全国决赛,期待他们再创佳绩。

此次大赛得到信息工程学院、华创信息工作室和校计算机协会的大力支持。充分调动了学生参与学习的积极性,为学生提供展示个人计算机应用能力的舞台,激发学生学习计算机知识、提升计算机应用能力和信息素养的潜力,提高计算机应用能力、解决问题能力以及创新创业能力,切实推行学校“1+X”证书制度,提升专业人才培养水平和职业核心竞争力,为参加2023年第四届全国高校计算机能力挑战赛决赛输送了优秀人才。